Shimano‘dan, son yılların en dikkat çekici yeniliklerinden biri geliştiriliyor olabilir: Akıllı ayakkabı. Şirket, efor ve kullanım koşullarına göre sıkılığını kendi ayarlayan bisiklet ayakkabıları için ABD’de US 2023/0122485 numarasıyla patent başvurusu yaptı.
Sensör ve motor: Shimano’dan “akıllı ayakkabı”

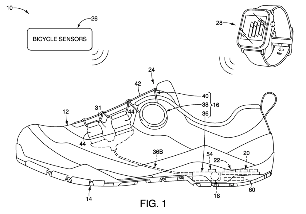
Road.cc’nin yayımladığı patent belgelerine göre Shimano, ayakkabıya BOA tipi bir kadranlı bağlama sistemi yerleştirdi. Şirket, bu sisteme pille çalışan küçük bir elektrik motoru entegre etti. Motor, bağlama mekanizmasının gerginliğini doğrudan değiştiriyor. Elektronik kontrol ünitesi ise farklı sensörlerden gelen verileri işliyor.
Sistem; hız, kadans, nabız ve tabanlık basıncı gibi verileri algılıyor. Sensörler bu bilgileri kontrol ünitesine iletiyor. Kontrol ünitesi de bağlama sıkılığını bu verilere göre ayarlıyor.
Örneğin bisikletçi 20 km/s’nin üzerine çıktığında sistem ayakkabıyı sıkabiliyor. Sporcu belirli bir güç eşiğini aştığında ya da asfalt zeminden araziye geçtiğinde sistem ayarı değiştirebiliyor.
Bisikletçi önce temel bir sıkılık seviyesi belirliyor. Sistem, önceden tanımlanan koşullar gerçekleştiğinde otomatik olarak devreye giriyor. Shimano, başlangıç ayarına ek olarak en az dört farklı gerginlik seviyesi tanımlıyor. Kullanıcı bu seviyeleri cep telefonu, bisiklet bilgisayarı veya bilgisayar üzerinden kablosuz bağlantıyla değiştirebiliyor.
Bu sistem özellikle yarışlarda işe yarayabilir. Sporcular sprint öncesinde ayakkabıyı sıkıyor, daha sakin bölümlerde gevşetiyor. Shimano bu işlemi otomatikleştirerek güç aktarımını optimize etmeyi hedefliyor.
Elbette patent başvurusu, ürünün kesin olarak piyasaya çıkacağı anlamına gelmiyor. Ancak bu adım, Shimano’nun yenilikçi teknolojiler üzerinde aktif şekilde çalıştığını açıkça gösteriyor.


